Dat heb je mooi verteld, ik heb in een ‘vorig leven’ ooit nog eens een deler, voor een uurwerk, gebouwd met alleen logische IC’s.
Maar dat uurwerk zelf bouwen heb ik onderweg opgegeven omdat de prijs van digitale radiowekkers steeds zakte. ![]()
Bedankt voor deze mooie uitleg! In mijn Bulova kwarts, waarbij het kristal op 262144 Hz resoneert, zijn nog een paar extra flipflops nodig.
Jaren lang als elektronicus gewerkt en heel wat flipflops op printplaten gesoldeerd.
Mooie uitleg… Dank hiervoor!
Ik heb zowel kwartshorloges als mechanische, en ik vind het gemak en precisie van een kwartshorloge eigenlijk heerlijk. Kan niet wachten tot m’n nieuwste high-accuracy quartz (HAQ) binnenkomt:
Ik heb er even m’n bril voor opgezet.
Leuk om te lezen, je staat er nooit bij stil hoe zoiets werkt.
Bedankt voor je heldere uiteenzetting. Knap gedaan.
Misschien kan ik dan wel hier mijn vraag stellen, die al een tijd door mijn hoofd spookt: Waarom was het zo bijzonder dat de Seiko quartz met analoge chronograaf werd geïntroduceerd? Wat was de moeilijkheidsgraad daarin? Ik ben daar wel benieuwd naar, vanuit een technisch oogpunt. We hebben een hoop van zulke vroege quartz-chrono’s hier op Hf, maar misschien onderschatten sommigen hoe significant ze waren.
Leuke uiteenzetting! Bedankt.
Persoonlijk heb ik niks tegen quartz… Sterker nog; omdat ze nagenoeg altijd goed lopen, vind ik het fijne horloges. Grab and go!
Ik vind alleen een tikkende secondewijzer niet zo tof. Daarom heb ik alleen quartz horloges zonder secondewijzer. ![]()
Beetje rare uitleg, hoe kom je eigenlijk op springende mannetjes?
Ben electronisch opgeleid maar zou het nooit zo uitleggen aan de leek.
Een 32,768kHz oscillator is typisch de bron voor alles wat de tijd moet bijhouden. Door deze frequentie 15 keer door 2 te delen kom je op 1Hz.
Zo’n oscillator is meestal een stukje quartz kristal wat zo gesneden is dat bij het aansturen met een spanning het quartz begint te resoneren op een bepaalde frequentie. Door het wat anders te snijden kan de fabrikant een andere frequentie.
Wil je meer nauwkeurigheid over temperatuur dan kan je bv een TCXO gebruiken, die is temperatuur gecompenseerd.
Goede vraag, en ik heb me niet specifiek verdiept in de Seiko 7A38 of de Citizen 3510/3530, maar ik kan er wel wat algemeens over roepen. Zoals je ziet op een van de foto’s in het topic waar je naar linkt, heb je voor elke sub-dial een eigen stappenmotor:

Dit in tegenstelling tot meca-quartz chronografen, waarbij het chronograaf gedeelte mechanisch is. Tegenwoordig zijn er talloze horloges met meerdere stappenmotoren, maar in de jaren 80 was dat bijzonder. Ten eerste moet je ze allemaal netjes fabriceren, dan allemaal netjes kwijt kunnen in een compact ontwerp, en dan moet je ze ook nog allemaal aansturen, waar je weer specifieke elektronische circuits voor moet ontwerpen. Al met al is het dus een hele engineering klus, waarbij de bottleneck waarschijnlijk tot dan toe het formaat van alle componenten was. Hoe kleiner alles werd met de jaren, hoe groter de mogelijkheden werden. In zekere zin waren dit soort uurwerken ook de voorvaders van de huidige quartz horloges met complicaties, want als je eenmaal elke wijzer apart kunt aansturen, kun je ook gaan onthouden waar welke wijzer staat, en die dus aanpassen op basis van een radiografisch tijdsignaal, en je kunt correcties uitvoeren als de wijzers door schokken zijn verschoven, en je kunt de dag en datum weergeven en met extra elektronica ook een perpetual calender introduceren, en zo voort.
Ik probeer juist iets toe te voegen aan alle standaarduitleggen op internet en in opleidingen, een meer visuele, bijna tastbare manier. Ik heb het eerst uitgeprobeerd op mijn ouders van 70+, en dat werkte uitstekend. Als ik een verhaal tegen ze had opgehangen over alleen flip-flops en bits, dan zouden ze die woordenbrij hooguit kunnen herhalen, maar ze zouden zich er geen voorstelling bij kunnen maken.
Voor opleidingen is dit niet handig, want je leert wat componenten doen en hoe je ze kunt toepassen. Net zoals je niet hoeft te weten hoe een computer echt werkt als je Java of PHP wil programmeren. Maar op die manier vergeten mensen dat een computer mechanisch is, met adressen en een klok. En juist bij die klok begint het, en hoe je aan een kloksnelheid van 3.40 of 5.60 GHz komt is minstens net zo interessant als wat je er vervolgens mee kunt doen, zoals een horlogeforum runnen. Het is alleen niet relevant voor de meeste professionals, want je koopt een chip kant-en-klaar, en het is allemaal bewezen techniek. Maar ooit begon het met vacuümbuizen in plaats van transistoren, en toen was een computer nog tastbaar. Ik probeer een quartz horloge dus tastbaar en mechanisch te maken, en niet simpelweg een opsomming van elektronische componenten met een globale beschrijving van de functie. Dat niet iedereen dat zal waarderen, neem ik voor lief.
Op temperatuurcompensatie kom ik nog wel een keer terug, want daar wordt het pas echt interessant!
Ter illustratie, in een vroeg (maar wel al massaproductie) quartz horloge waren de elektrische componenten waaronder de spoel een stuk groter, daar kon je er dus nooit vier van huisvesten zoals in de Seiko chronograaf:

In een echt vroeg quartz horloge, zoals deze van Girard-Perregaux, is alles nog groter, maar er was dan weer geen grote spoel zoals de standaard werd.
Dit vind ik wel leuk ja. Er zit letterlijk een groot verschil tussen een Tissot 2030 en een Miyota 2030.
Om het punt nog wat extra toe te lichten… We zeggen wel dat een flip-flop wisselt tussen 0 en 1, maar dat is abstracte mensentaal die verhult dat de fysieke toestand wisselt tussen de ene stabiele configuratie en de andere stabiele configuratie, net als een escapement in een mechanisch horloge wisselt tussen fysieke configuraties. Als je dus maar diep genoeg graaft, dan ontdek je dat er niet zoiets bestaat als “niet-mechanisch”, maar in de praktijk worden de mechanische aspecten van elektronica verhuld door abstracte taal. Dat is prima en zelfs nodig, maar net als biologie is het op component- en molecuul- en atoomniveau allemaal mechanisch. Het zijn in het geval van een quartz horloge allemaal voltages en ladingen (charges), maar het gaat zo razendsnel dat het niet te doen is om het je mentaal voor te stellen, tenzij je dus een stapje terug doet en een analogie gebruikt, zoals springende mannen.
Grappig genoeg hadden een aantal vroege quartz horloges ook een ‘sweeping’ secondenwijzer, en geen stappenmotor. En tegenwoordig heb je natuurlijk Spring Drive, maar ja dat kost wel wat. Een goedkoper alternatief met super vloeiende secondenwijzer is de Bulova 262 kHz die al genoemd werd. Hij maakt stiekem 16 stapjes per seconde, het equivalent van een mechanisch horloge met 57.600 vph (high-beat is 5 Hz/36.000 vph).
Bulova Super Seville 96B440 Quartz 262 kHz (smooth sweeping seconds like Seiko Spring Drive)
Dank voor het openen van dit draadje @promaster Erg leerzaam en helder zoals je uitlegt.
@Bahi is me na 2 zinnen al kwijt. Maar ben desalniettemin ook geïnteresseerd in jouw kennis en kunde over Quartz uitwerken!
Eh… Groot quartzliefhebber hier, maar ik sluit me graag bij de woorden van @Dutchspur aan. Ik geloof al niet in de menselijke ziel, laat staan die van horloges. Karakter, da’s andere koek.
Even een plaatje van een quartz horloge bij het praatje.
Dat zou de correcte en ietwat kortere samenvatting zijn van het verhaal, ja.
In het geval van analoge quartz kun je ook op het raderwerk wijzen, natuurlijk. En op het feit dat piezo-elektriciteit per definitie een mechanische aangelegenheid is omdat uit druk stroom ontstaat, of uit stroom druk. ![]()
Dat geldt zelfs voor de gelijkrichting van metaaldeeltjes in een harde schijf. Dat wordt nog mooier geïllustreerd bij Magneto-Optical data opslag, waarbij een laser een substraatlaag “kookt”, vooraleer een magneet de configuratie richting 1 of 0 trekt, waarna de substraatlaag afkoelt, en de 1 of 0 verankerd raakt in het materiaal.
Pfff. Of ik alle micro-biologische processen als mechanisch zou beschouwen, da’s een puntje. Ik zou eerder “bio-chemisch” roepen.
Voor de gein, omdat dit topic anders wel erg droog is, nog wat plaatjes van quartz horloges:
In deze rij kunnen we het hebben over high torque, thermo-compensatie, high accuracy, externe synchronisatie, en chronografen met mecha-quartz uurwerk. ![]()
Fate neemt alvast een voorschot op het volgende onderwerp, het feitelijke quartz/kwarts. Ik ben halverwege het proces begonnen, want je moet ergens beginnen, maar het begint natuurlijk bij het kwartskristal zelf. Kwarts bestaat net als glas uit silicium (S) en zuurstof atomen (O), maar bij glas is de structuur willekeurig, dat heet amorf (vormloos), en in kwarts heeft het een kristallijne structuur, met een verhouding van twee zuurstofatomen per siliciumatoom. Die structuur is vast en herhaalt zich, maar hij is niet in alle richtingen symmetrisch, en daardoor krijgt quartz (ik gebruik voortaan de Engelse term) speciale eigenschappen, waaronder de genoemde piëzo-elektrische eigenschap. Als je een stukje quartz vervormt/onder druk zet, ontstaan aan de uiteinden elektrische spanningsverschillen. Dat wordt bijvoorbeeld benut met een ander piëzo-elektrisch materiaal in elektrische aanstekers, waarbij een hamertje op een stukje keramiek slaat, en daardoor ontstaat duizenden volt, genoeg om een vonk door de lucht te maken. Ook klopsensoren op de motor in je auto zijn piëzo-elektrisch, en de vibraties van de ongeplande explosies worden omgezet in een elektrisch signaal, waar je ECU dan weer naar kan handelen om dat te voorkomen (want ‘pingelen’ is slecht voor de motor). In een horloge wordt het inverse principe benut: als je een spanningsverschil op het quartz zet, gaat het juist vervormen. Als je dat spanningsverschil steeds omwisselt en een specifieke vorm kiest, gaat het stukje quartz vibreren, en wel met zijn natuurlijke frequentie die afhangt van zijn fysieke vorm.
Nu is quartz heel accuraat vergeleken met een mechanisch horloge, maar dat gaat niet vanzelf. Voor alle technische details over het oscillatorcircuit, verwijs ik naar het internet, ik behandel even de hoofdlijnen. We willen dus een frequentie van exact of nabij de 32.768 Hz, omdat dat makkelijk te delen is met 15 flip-flops. Maar die frequentie is min of meer willekeurig, en de eerste quartz horloges hadden maar 8 kHz of 16 kHz als frequentie. Maar hoe krijg je het nou precies op 32.768 Hz en niet op 33.000 Hz (horloge loopt te snel) of 32.500 Hz (horloge loopt te langzaam)? Als deel van het oscillatorcircuit zijn er een of meerdere kleinere condensatoren, waarvan de waarde de frequentie bepaalt. We negeren nu even dat de frequentie ook varieert met de temperatuur, daar komen we in de toekomst op terug. Je kunt een quartz stukje wel heel precies fabriceren, maar je hebt toch variatie, bovendien kan de natuurlijke frequentie veranderen met de tijd, dat heet ‘aging’, door bijvoorbeeld kleine deeltjes die eraan gaan kleven waardoor het gewicht iets toeneemt. Bij duurdere vroege quartz horloges was er daarom behalve een vaste condensator ook een variable condensator met een stelschroefje. Zo kon je in de fabriek voor de grove afstelling een vaste condensator kiezen, en voor de fijnafstelling een variable condensator. De horlogemaker kon dan ook na enkele jaren je horloge weer bijstellen, of als je in een warm klimaat woont, kun je de fijnafstelling gebruiken.
Maar uiteindelijk wilde men naar massaproductie, en dan was het veel te veel gedoe om elk horloge met een stelschroefje af te stellen, en bovendien is het erg duur om heel exacte quartz stukjes te maken en/of testen en selecteren. Dus toen bedacht men iets heel slims. Althans, het bestond al in grotere apparaten, maar men wist het in het klein te maken voor quartz horloges. Namelijk Digital Count Adjustment. Nu maak je alle quartz kristallen bijvoorbeeld iets te snel. Ze zitten bijvoorbeeld allemaal tussen de 33.000 en 33.200 Hz. Vervolgens gebruik je het elektronische circuit om een bepaald aantal van de ‘piekjes’ feitelijk te negeren of over te slaan. Hoe dat precies gaat is erg ingewikkeld en dat ga ik hier niet uitleggen, maar het principe is dus dat als je quartz vibreert met 33.000 Hz, je dus wil dat hij per seconde 232 vibraties ‘weggooit’. Of zo je wil per minuut 60x232=13.920 vibraties, dan kom je gemiddeld alsnog goed uit. Als alternatief kun je de quartz stukjes juist allemaal iets te langzaam maken, bijvoorbeeld tussen de 32.200 Hz en 32.500 Hz, en dan is het dus zaak om op een of andere manier - ik treed wederom niet in detail - ‘pieken’ aan de blokgolf toe te voegen. Hiervoor zijn allerlei patenten bedacht, en die vormden de basis voor een van de manieren van temperatuurcompensatie, waarbij er afhankelijk van de omgevingstemperatuur dus ook signaal wordt genegeerd of signaal wordt toegevoegd. Dat doen bijvoorbeeeld Seiko en ETA. Citizen koos een andere aanpak, die heeft een manier bedacht om de gemiddelde condensatorwaarde te variëren met de temperatuur, door op ingenieuze wijze tussen verschillende condensatoren te wisselen. Ik zal in de toekomst nog wel wat meer vertellen over temperatuurcompensatie, en welke manieren er allemaal zijn.
Zelfs een modern, relatief goedkoop quartz horloge heeft tegenwoordig dus een redelijk onnauwkeurig quartz kristal, waarbij in de fabriek het digitale deel een bepaalde afregelwaarde krijgt om in de buurt van die 32.768 Hz te komen, zodat het horloge maximaal 15 tot 30 seconden per maand afwijkt, zelfs als je hem een deel van de dag niet draagt, waardoor het horloge dus vanwege de temperatuur gaat afwijken. High-Accuracy Quartz streeft naar 10 seconden of 5 seconden afwijking PER JAAR, en Citizen is het zelfs gelukt om 1 seconde afwijking per jaar te realiseren. Hoe precies is een erg lang verhaal, maar het begint in ieder geval met een 8 MHz quartz die van zichzelf al minder afwijkt met variërende temperatuur.
Zoals iemand al snel noemde, je kan een kwartskristal op verschillende manieren snijden.
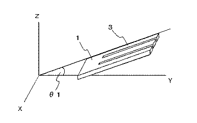
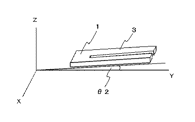
Omdat de kristalstructuur/het kristalrooster niet in alle richtingen symmetrisch is, geeft een andere snede (Engels: cut) dus andere eigenschappen, soms zeer verschillende. Hieronder een afbeelding met de meest gangbare cuts.
MHz quartz is meestal AT-cut en gewoon een schijfje of rechthoekje, de stemvork vormige kristallen in normale quartz horloges zijn XY-cut. Maar er zijn ook exotische snedes gebruikt in het verleden. Zo had Seiko bijvoorbeeld een FT-cut waarbij het stukje quartz in twee vlakken/richtingen vibreert, Twin Mode genoemd, hetgeen zorgt voor meer precisie. Overigens, als compactheid en stroomverbruik geen punt is, zoals in grote apparaten, dan is de makkelijkste oplossing om het quartz in een klein oventje te plaatsen, die de temperatuur constant houdt, zodat hij ook niet kan afwijken door temperatuurverschillen. In een horloge is dit helaas niet haalbaar, vandaar dat er andere manieren zijn bedacht. Dit heb ik ooit uitgebreid in het Engels beschreven, maar dat is los van de taalbarrière niet super toegankelijk, dus ik kijk nog even of en hoe ik dat ga brengen.
Moraal van dit verhaal is in ieder geval dat quartz relatief stabiel vibreert, maar dat gaat niet vanzelf, en voorheen werd dat analoog gefinetuned, en tegenwoordig wordt dat digitaal gefinetuned, hetgeen ook de deur opent voor temperatuurcompensatie in zogenaamde HAQ horloges.
Ik gebruik dus geen ChatGPT voor deze posts, maar ik kan ChatGPT wel aanbevelen als gesprekspartner om te leren over quartz, want er is zoveel geschreven over quartz waar ChatGPT op getraind is dat ChatGPT alle ins en outs kan vertellen op elk gewenst niveau, en je kunt exact de vragen stellen die je wil. Geldt ook voor Gemini trouwens. Op wikipedia is natuurlijk ook veel informatie te vinden. Ik probeer hier zoals gezegd alleen wat handvatten te geven. Mocht je nou heel erg geïnteresseerd zijn geraakt in kwartskristallen zelf, dan is er een website waar je weken of zelfs maanden op kan doorbrengen om echt alles te weten te komen over dit wonderlijke materiaal: The Quartz Page.
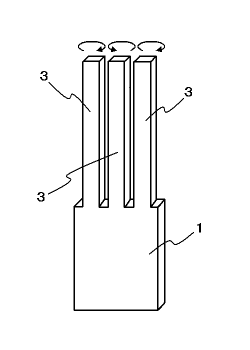
En omdat mensen blijkbaar plaatjes willen, zo ziet een moderne XY-cut stemvork quartz eruit:

Ik zie dat de topic inmiddels is verplaatst naar de rubriek Techniek & Reviews, terecht natuurlijk, maar gezien het toegankelijke karakter vond ik de rubriek Algemene Horlogepraat niet ongepast, maar ik snap de verhuizing.
Bonusweetje, ooit al eens genoemd op HF: het quartz stemvorkje in de Bulova die met 262 kHz vibreert heeft niet twee maar drie uiteinden. Nog niet genoemd op HF: het werkingsprincipe is al lang geleden door Bulova-eigenaar Citizen gepatenteerd (in 2000), maar uiteindelijk alleen in Bulovas toegepast na de overname van Bulova in 2008. De drie uiteinden vibreren ook anders: torsioneel, dus draaiend in plaats van alleen heen en weer. En de cut is een andere hoek. Het meest recente 262 kHz patent (ingediend 2013, toegekend 2017) staat gewoon op naam van Citizen, maar Bulova mag commercieel gezien met de eer strijken.

Kortom, er gaat zeer veel schuil achter een (snel of langzaam) tikkende secondenwijzer. De benaming quartz is slechts het topje van de spreekwoordelijke ijsberg.























